Poolandspa.com > Store > Swimming Pool Products > Pool Parts > Skimmers > Waterway
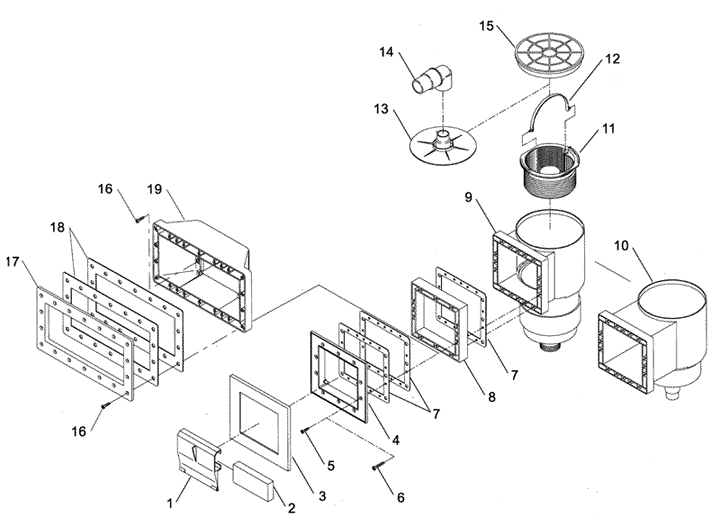
Waterway FRONT ACCESS - 510-2000

Poolandspa.com > Store > Swimming Pool Products > Pool Parts > Skimmers > Waterway
Poolandspa.com > Store > Swimming Pool Products > Pool Parts > Skimmers > Waterway

Poolandspa.com > Store > Swimming Pool Products > Pool Parts > Skimmers > Waterway