Poolandspa.com > Store > Swimming Pool Products > Pool Parts > Sand Filters > Waterway
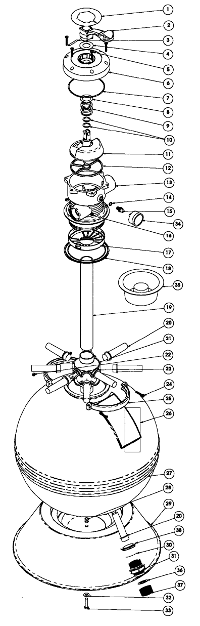
Waterway CLEARWATER - 22 inch

Poolandspa.com > Store > Swimming Pool Products > Pool Parts > Sand Filters > Waterway
Poolandspa.com > Store > Swimming Pool Products > Pool Parts > Sand Filters > Waterway

Poolandspa.com > Store > Swimming Pool Products > Pool Parts > Sand Filters > Waterway