Poolandspa.com > Store > Swimming Pool Products > Pool Parts > DE Filters > Sta-Rite
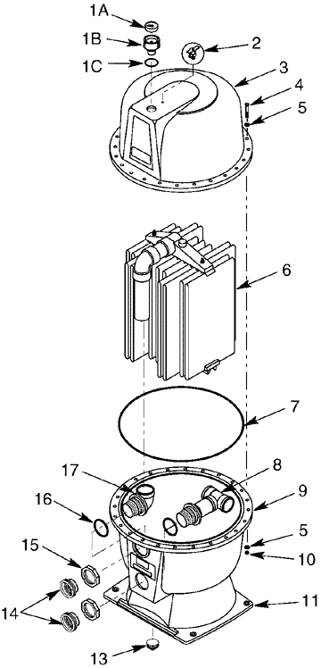
Sta-Rite VERTICAL D.E. FILTER - DEP36-01B

Poolandspa.com > Store > Swimming Pool Products > Pool Parts > DE Filters > Sta-Rite
Poolandspa.com > Store > Swimming Pool Products > Pool Parts > DE Filters > Sta-Rite

Poolandspa.com > Store > Swimming Pool Products > Pool Parts > DE Filters > Sta-Rite