Poolandspa.com > Store > Swimming Pool Products > Pool Parts > Cartridge Filters > Sta-Rite
Sta-Rite TXC100

| Item | Key | Retail | Price | Quantity | |
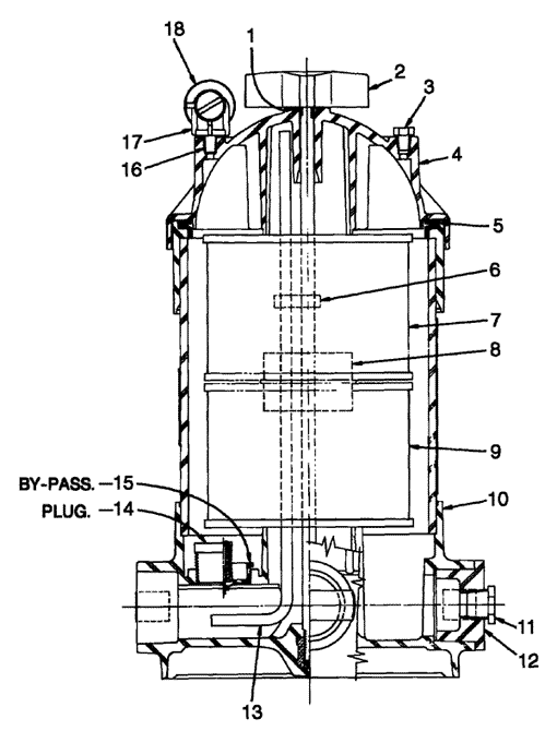
| 89-575-2619 - Plug PVC 1.5 Inch MPT - 450-015 - 89-575-2619 | 14 | $14.37 | $8.71 |
|
Poolandspa.com > Store > Swimming Pool Products > Pool Parts > Cartridge Filters > Sta-Rite




