Poolandspa.com > Store > Swimming Pool Products > Pool Parts > Valves & Unions > Sta-Rite
Push Valve - StaRite Plastic Push Pull Valve Model WC 212-134P

| Item | Key | Retail | Price | Quantity | |
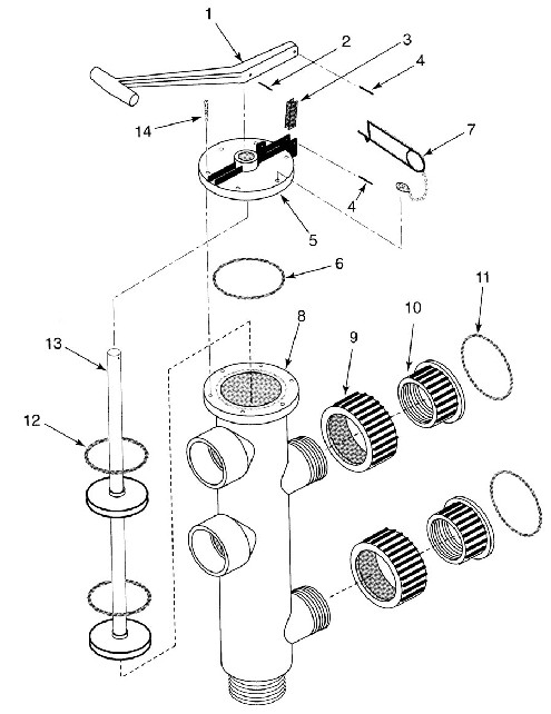
| 27-102-1318 - MACHINE SCREW 8-32X3/4 SS - 37107-0085 - UPC - 788379780159 - 27-102-1318 | 14 | $12.82 | $7.77 |
|
|
| 27-102-1305 - INDEX PLATE FOR 14936 VALVE KIT - 14930-0032 - UPC - 788379816780 - 27-102-1305 | 5A | $93.82 | $64.33 |
|
Poolandspa.com > Store > Swimming Pool Products > Pool Parts > Valves & Unions > Sta-Rite




