Poolandspa.com > Store > Swimming Pool Products > Pool Parts > Sand Filters > Sta-Rite
Swimming Pool Sand Filter - StaRite High Rate HRS16-01, 20-01, 24-01 Sand Filters

PLEASE NOTE: Items listed below are SPECIAL
ORDER. Please allow 2-3 weeks for delivery.
Some items may be discontinued. You will be notified if you order such an item.
| Item | Key | Retail | Price | Quantity | |
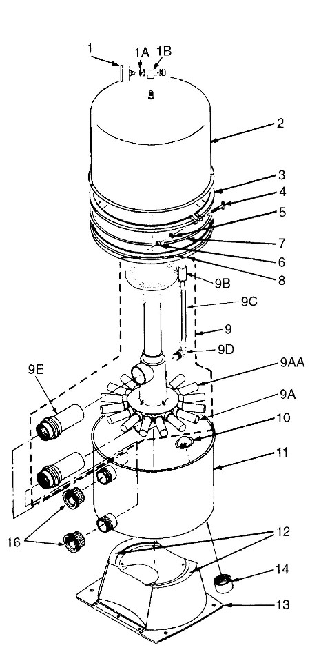
| 14-102-1206 - 5/16-18 HX NUT - 35402-0279 - UPC - 788379778767 - 14-102-1206 | 6 | $12.92 | $7.83 |
|
|
| 14-102-1104 - AIR BLEED FILTER - WC8-126Z - UPC - 788379803193 - 14-102-1104 | 9B | $43.56 | $27.94 |
|
|
| 31-102-1000 - HRS-16 INTERNAL KIT - 24735-0001 - 31-102-1000 | 9 | $362.64 | $219.78 |
|
Poolandspa.com > Store > Swimming Pool Products > Pool Parts > Sand Filters > Sta-Rite




