Poolandspa.com > Store > Swimming Pool Products > Pool Parts > Sand Filters > PacFab
PacFab SAND DOLLAR - SAND DOLLAR

| Item | Key | Retail | Price | Quantity | |
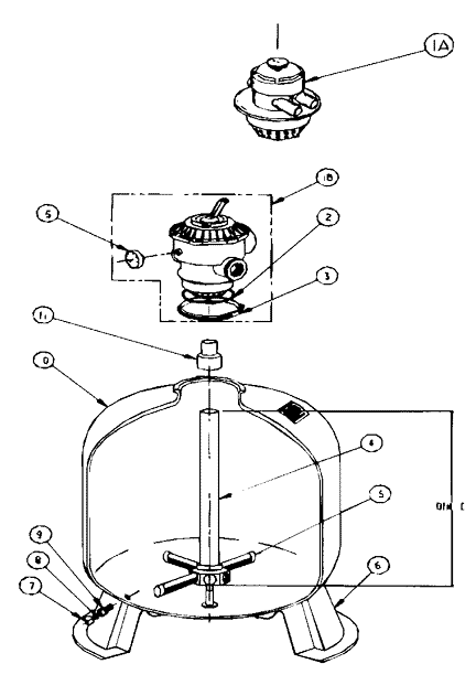
| 26-110-1218 - Valve 1.5 Inch 6-Way Clamp Style - 262506 - UPC - 788379674496 - 26-110-1218 | 1B | $364.50 | $238.27 |
|
Poolandspa.com > Store > Swimming Pool Products > Pool Parts > Sand Filters > PacFab




